Kołki, które mamy w stałej ofercie znajdują zastosowanie w:
- budowie maszyn,
- pracach montażowych.
Kołki w budowie maszyn i urządzeń
Mają dwa rodzaje zastosowań:
- ustalanie miejsca, w którym znajduje się jedna część względem innej,
- nieruchome lub ruchome mocowanie do siebie dwóch części.
Ustalanie położenia części nie powoduje ich unieruchomienia względem siebie. Mocowanie musi być wykonane przy użyciu np. śrub.
Kołki w pracach montażowych
Są one stosowane na budowach począwszy od stanu surowego a skończywszy na pracach wykończeniowych. W zależności od materiału, do którego wykonywany jest montaż kołki dzielimy na:
- standardowe – montaż następuje w skutek rozparcia rozciętych ścianek kołka podczas dokręcania,
- do materiałów miękkich – mają one na zewnątrz gwint ślimakowy dobrze trzymający się w porowatych materiałach budowlanych,
- do pustych przestrzeni – sprawdzają się przy montażach np. w płytach g-k, dzięki tworzeniu grzybka po wewnętrznej stronie ścianki.
Kołki i akcesoria montażowe
Przy pracach wykończeniowych kołki służą do mocowania luster, umywalek, kabin prysznicowych itp. Mocowane przedmioty muszą być idealnie wypoziomowane zaś połączenia trwałe. W sprostaniu temu wyzwaniu pomocne będą atestowane akcesoria montażowe.
Dobór kołka a bezpieczeństwo
Kolejnym kryterium doboru kołka powinno być zapewnienie trwałości połączenia. Na tym etapie należy rozważyć obciążenia, którym poddany będzie kołek oraz specyfikę warunków pracy. Połączenia kołkowe znajdujące się na zewnątrz budynków, w pomieszczeniach sanitarnych muszą być odporne na korozję. Kołki pracujące w środowiskach agresywnych chemicznie powinny być zabezpieczone przed ich działaniem i np. wykonane ze stali kwasoodpornej.
Oferowane przez nas kołki dostępne są w kilku wersjach, spełniają stosowane normy a na życzenie klienta mogą mieć wystawione atesty.
Kołki dostępne są zarówno jako samodzielne elementy i wówczas można w nie wkręcić zarówno haczyk jak i śrubę. Mamy również w sprzedaży komplety, co jest istotne, gdy połączenie składające się z dwóch elementów ma sprostać określonym wymaganiom.
Przed złożeniem zamówienia polecamy kontakt z działem handlowym, którego doświadczeni pracownicy najprawdopodobniej będą w stanie zaproponować alternatywne rozwiązania z naszej bogatej oferty.
Jakie kołki warto mieć pod ręką?
Często zdarza się, że montażysta ma zrealizować konkretne zadanie a na miejscu okazuje się, iż warunki są nieco inne niż podał zamawiający. Dlatego warto mieć ze sobą nieco najpopularniejszych kołków.
Często stosowane są np. kołki sprężyste DIN. Łatwiej będzie podołać zamówieniu mając w skrzynce szeroki asortyment ich rozmiarów wyprodukowanych ze stali sprężystej w wersjach: bez pokrycia, ocynkowanej i nierdzewnej.
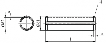
Kolejną grupą są kołki sprężyste zwijane zwykłe wyprodukowane z zachowaniem wymogów normy ISO 8750, DIN 7343 oraz PN 85029. Przeznaczone są do wzajemnego ustalanie położenia elementów lub ich zespołów. Pozwalają na realizowanie połączeń kołkowych zarówno ruchomych, jak i nieruchomych. Dostępne są w wykonaniach z różnych rodzajów stali, w tym z nierdzewnej oraz kwasoodpornej.
Kołki stożkowe DIN 1 B najczęściej są używane do ustalania wzajemnego położenia minimum dwóch części. Mocowanie powinno być wykonane np. przy użyciu wkrętów. Dokładność położenia elementów jest zależna od tolerancji wykonania kołków oraz otworów na nie.
Kołki z gwintem wewnętrznym dostępne są w wykonaniach: stożkowym i walcowym oraz hartowanym i niehartowanym. Mają one za zadanie nie tylko ustalanie położenia elementów, ale także umożliwiają przymocowanie do nich innych części wkrętami z gwintem metrycznym. Sposób ich wykonania opisują normy DIN 7979 D, ISO 8735, PN 85018 oraz DIN 7978, ISO 8736, PN 85019.
Kołki zgodne ze standardem DIN7 wykonane są ze stali bez pokrycia powierzchni lub A2. Dysponujemy też wersją kołków walcowych obrabianych cieplnie wykonanych z zachowaniem norm: DIN 6325, PN 85021, ISO 8734.
Wymienione powyżej kołki mamy w stałej sprzedaży. Na życzenie możemy wykonać lub sprowadzić inne oraz potwierdzić ich jakość atestami.














